
Лейка для гигиенического душа Remer 332 OL
Лейка для гигиенического душа WasserKRAFT A081

Выпуск для мойки WIRQUIN 30717335
Лейка для душа SONAKI Waffle SVH-114Y

Лейка для душа Hansgrohe Unica Connect 98715000

Шланг для душа Milardo 220S200M19
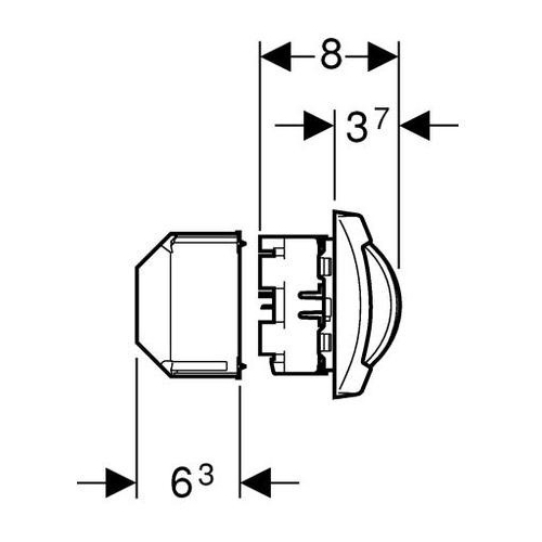
Кнопка смыва GEBERIT 115.770.FB.5
Лейка для душа Hansgrohe PuraVida 120 1jet 28558000
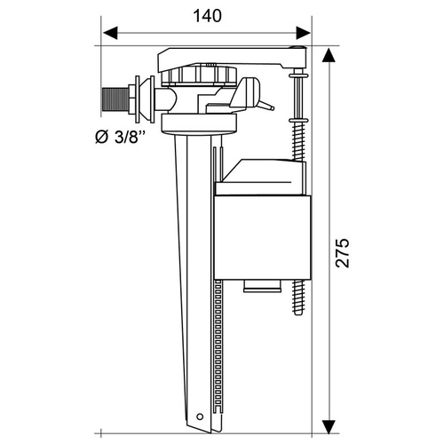
Заливной клапан WIRQUIN JOLLYFILL FL150L3 боковая
Кнопка смыва Grohe Skate Air 38565000

Бачок скрытого монтажа AlcaPLAST A100/1000
Кнопка смыва GEBERIT 115.941.11.1 HyTouch